您好,欢迎光临徐州江煤科技有限公司官网!

联系我们

  • 了解更多详细信息,请致电

    400-180-6658

  • 或给我们留言

    在线留言
新闻

热门搜索: 自救器 稳压电源

矿井通风仪器仪表

您的位置:首页 > 产品展示 > 矿井通风仪器仪表

KXJ18型煤矿瓦检员巡检智能管控系统

创建时间: 2023-05-16

一 、概述
KXJ18型煤矿瓦检员巡检智能管控系统(以下简称巡检系统),为了提升煤矿安全生产管理工作的客观性,有效对井下巡检人员进行监督,利用信息化手段,借助物联网技术、蓝牙身份识别技术,通过本安型巡检仪与蓝牙地点标识卡(以下简称蓝牙标识卡)的配合应用,实现自动记录人员的巡检路线,促使人员按照集团公司、矿的有关规定按时、按点进行巡查,为监督巡检人员的脱岗、漏检提供技术手段和工具。
利用本安型巡检仪实现井下记录一次,井上自动生成各类台账报表,并进行自动分析、预警,做到“一数一源,一源多用”,避免重复记录,提升工作效率,降低监管难度,推进信息化与安全生产业务的深度融合。
系统设备由本质安全型和矿用隔爆兼本质安全型设备组成。系统中各主要设备明细见附录B。
二、产品分类
 防爆型式
井下设备由本质安全型和隔爆兼本质安全型组成。
地面设备由一般兼本安型组成。
三、 系统构成、工作原理
3.1 系统构成
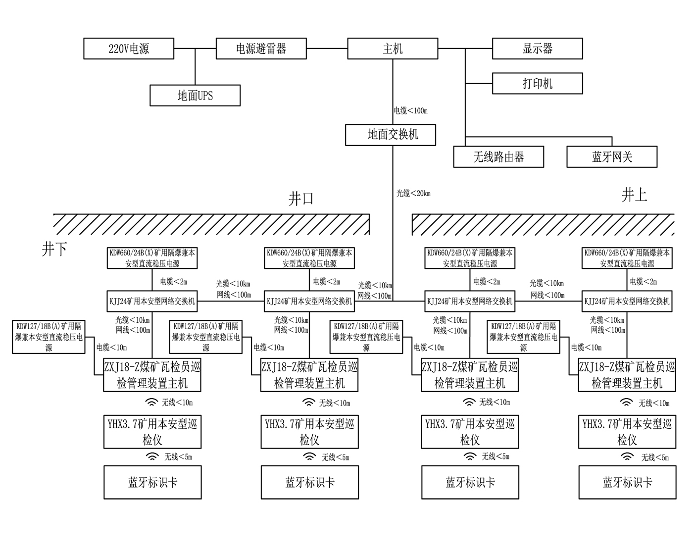
巡检系统分地面和井下两部分组成(见附录A)。
a) 地面部分——信息采集处理中心。主要由主机、显示屏、无线路由器、交换机和蓝牙网关等组成。
b) 井下部分主要由ZXJ18-Z煤矿瓦检员巡检管理装置用主机(以下简称“主机”)、YHX3.7矿用本安型巡检仪(以下简称巡检仪)、KJJ24矿用本安型网络交换机(以下简称“本安型交换机”)、KDW127/18B(A)矿用隔爆兼本安型直流稳压电源(以下简称“电源”)、KDW660/24B(X)矿用隔爆兼本安型直流电源和蓝牙标识卡等组成。
 3.2 工作原理
通过蓝牙网关识别蓝牙标识卡,读取唯一MAC地址,并将蓝牙标识卡的相关信息录入数据库保存;再将巡检人员的信息录入系统软件,获取巡检软件登录账号和初始密码。下井时,巡检人员先登录巡检软件,获取巡检任务。在规定的时间内到达巡检地点先连接本地点蓝牙标识卡,再进行检验数据的填写和保存(连接不到蓝牙标识卡,数据填写将无法操作)。上井后,使用无线WIFI连接到地面计算机,上传巡检数据,进行分析、处理、存档。
四、工作条件
4.1 用于机房、调度室的设备,必须在下列条件下正常工作:
    a) 环境温度:15℃~30℃;
b) 相对湿度:40%~70%;
c) 温度变化率:小于10℃/h,且不得结露;
    d) 大气压力:80kPa~106kPa;
e) 清洁、无强磁场干扰、无腐蚀性气体和无爆炸气体。
4.2 除有关标准另有规定外,系统中用于煤矿井下的设备应在下列条件下正常工作:
a) 环境温度:0℃~+40℃;
b) 平均相对湿度:不大于95%(+25℃);
c) 海拔:海拔不超过2000m;
d) 煤矿井下有瓦斯,煤尘爆炸危险的环境,但无显著振动和冲击、无破坏绝缘的腐蚀性气体场所。
五 、基本性能
5.1 系统功能
5.1.1 操作管理:系统软件具有密码操作功能。
5.1.2 主菜单
a) 系统具有连接设置功能;
b) 系统具有参数设置功能;
c) 系统具有密码修改功能;
d) 系统具有图形编辑功能;
e) 系统具有基础信息设置功能;
f) 系统具有员工信息设置功能;
g) 系统具有地点信息管理功能;
h) 系统具有数据查询功能。
5.1.3 系统具有防止修改实时数据和历史数据等存储内容(参数设置及页面编辑除外)功能。
5.1.4 系统具有数据采集、显示功能。
5.1.5 系统具备用电源功能(供电用电源箱)。
5.1.6 系统具有以太网通信功能。
5.1.7 系统具有实时多任务功能,能实时传输、处理、存储和显示信息。
5.2 主要技术指标
5.2.1 最大传输距离
a) 计算机至井上交换机的最大传输距离为100m;
b) 井上交换机至井下本安型交换机的最大传输距离为20km(矿用光纤);
c) 本安型交换机至本安型交换机的最大传输距离为10km(矿用光纤),100M(矿用网线);
d) 本安型交换机至ZXJ18-Z煤矿瓦检员巡检管理装置用主机的最大传输距离为10km(矿用光纤),100M(矿用网线);
e) YHX3.7矿用本安型巡检仪(以下简称巡检仪)到主机的最大传输距离为10m;
f) 蓝牙网关、巡检仪到蓝牙标识卡的最大识别距离为5m。
5.2.2 软件画面响应时间
 系统软件调出整幅画面85%的响应时间不大于2s,其余画面不大于5s;
5.2.3 系统最大配接容量  
系统允许接入的本安型交换机数量4台,每台交换机可接入1台本安型数据传输主机,每台主机可同时读取巡检仪数量1台,每台电源箱最大配接1台主机。
5.2.4 备用电源工作时间
电网停电后,备用电源能保证系统连续监测时间不小于2h。
5.2.5 传输性能
5.2.5.1 交换机与计算机的传输
传输口数量:1路; 
传输方式:以太网;
最大传输距离:100m。
5.2.5.2 KJJ24矿用本安型网络交换机与KJJ24矿用本安型网络交换机的传输
传输口数量:1路;
传输方式:以太网;
最大传输距离:10km(矿用光纤);100M(矿用网线)。
5.2.5.3 KJJ24矿用本安型网络交换机与ZXJ18-Z煤矿瓦检员巡检管理装置用主机的传输
传输口数量:1路;
传输方式:以太网;
最大传输距离:10km(矿用光纤);100M(矿用网线)。
5.3 传输误码率≤10-9。
5.4 蓝牙标识卡 
5.4.1 蓝牙识别距离:0~5m。
5.4.2 蓝牙标识卡为有源卡,属简单设备。
5.5 电源到主机的最大供电距离为10m。